Proyectos Patentados

01MASCARILLA NASAL CON PROTECTOR FACIAL CONTRA VIRUS Y BACTERIAS
 

 La mascarilla nasal es una variante de las mascarillas convencionales, como las quirúrgicas o las KN95. Está diseñada para proteger contra gérmenes y partículas en el aire. La mascarilla tiene orificios en la zona de la nariz donde se colocan unos filtros especiales. Estos filtros ayudan a mantener el aire limpio y libre de impurezas.

Enlace
 
 
  
02MESA DE TRABAJO MÓVIL PARA SOLDADURA CON CONTROL DE INSUMOS
 

 Mesa de trabajo de trabajo móvil para soldadura con abastecedor de electrodos, caracterizado porque está constituido con tres niveles para herramientas y suministros, una pluralidad de ruedas en la base dándole así movilidad para el transporte.

Enlace 1 Enlace 2
 
 
  
03MODULO SANITARIO
 

 Módulo sanitario que permite que el usuario realice actividades de higiene en el interior del mismo, como la desinfección de manos.

Enlace
 
 
  
04LLAVERO
 

 Se protege la apariencia particular de un llavero que permite abrir puertas sin tener contacto con ellas, con el fin de evitar contaminarse con superficies que tienen contacto con otras personas.

Enlace
 
 
05EQUIPO AUTOMATIZADO PARA LA PRODUCCION DE BIOETANOL Y EXTRACCIÓN DE ACEITES ESENCIALES
06UN DISPOSITIVO DE SEGURIDAD ANTICATEO PARA CAPO DE MAQUINARIA PESADA
  
07CABINA DE DESINFECCION PLEGABLE CON CONTEO DE PERSONAS
 

 

Enlace
 
 
  
08CÁMARA DE DESINFECCIÓN PORTATIL MECANICA
 

 Este equipo comprende un armazón con un balancín sobre una válvula de descarga que conectada a una bomba mecánica dentro de un contenedor de solución desinfectante ubicada junto al armazón, donde mediante el accionamiento del balancín la válvula de descarga se acciona y atomiza y pulveriza la solución desinfectante, la cual se distribuye en el interior del equipo mediante ductos y boquillas ubicadas en el interior del armazón.

Enlace
 
 
  
09DISPOSITIVO TECNOLOGICO CON SENSOR DE GRITO AUXILIADOR
 

 Dispositivo que comprende un equipo software integrado a un hardware con la finalidad de transmitir una señal cuando el sensor de sonido del dispositivo escuche una señal de auxilio, como un grito, incluyendo la palabra auxilio, logrando que esta señal se registre como un mensaje de texto al celular receptor, con la palabra auxilio.

Enlace
 
 
10CORTADOR MANUAL PARA MAZORCAS DE CACAO CON MECANISMOS DE SOPORTE Y AMORTIGUACIÓN
  
11PROCEDIMIENTO Y EQUIPO PARA LA ABSORCIÓN DE GASES
 

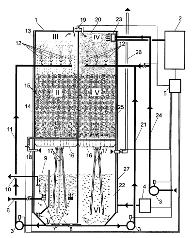
 Procedimiento y equipo de absorción de componentes de una mezcla gaseosa con ayuda de un solvente líquido y puede ser usado en operaciones de transferencia de masa en la industria química para la producción de amoniaco, metanol, etileno, naftaleno, limpieza de aire, etc. 

Enlace
 
01MASCARILLA NASAL CON PROTECTOR FACIAL CONTRA VIRUS Y BACTERIAS
 

 La mascarilla nasal es una variante de las mascarillas convencionales, como las quirúrgicas o las KN95. Está diseñada para proteger contra gérmenes y partículas en el aire. La mascarilla tiene orificios en la zona de la nariz donde se colocan unos filtros especiales. Estos filtros ayudan a mantener el aire limpio y libre de impurezas.

Enlace
 
 
  
02MESA DE TRABAJO MÓVIL PARA SOLDADURA CON CONTROL DE INSUMOS
 

 Mesa de trabajo de trabajo móvil para soldadura con abastecedor de electrodos, caracterizado porque está constituido con tres niveles para herramientas y suministros, una pluralidad de ruedas en la base dándole así movilidad para el transporte.

Enlace 1 Enlace 2
 
 
  
03MODULO SANITARIO
 

 Módulo sanitario que permite que el usuario realice actividades de higiene en el interior del mismo, como la desinfección de manos.

Enlace
 
 
  
04LLAVERO
 

 Se protege la apariencia particular de un llavero que permite abrir puertas sin tener contacto con ellas, con el fin de evitar contaminarse con superficies que tienen contacto con otras personas.

Enlace
 
 
05EQUIPO AUTOMATIZADO PARA LA PRODUCCION DE BIOETANOL Y EXTRACCIÓN DE ACEITES ESENCIALES
06UN DISPOSITIVO DE SEGURIDAD ANTICATEO PARA CAPO DE MAQUINARIA PESADA
  
07CABINA DE DESINFECCION PLEGABLE CON CONTEO DE PERSONAS
 

 

Enlace
 
 
  
08CÁMARA DE DESINFECCIÓN PORTATIL MECANICA
 

 Este equipo comprende un armazón con un balancín sobre una válvula de descarga que conectada a una bomba mecánica dentro de un contenedor de solución desinfectante ubicada junto al armazón, donde mediante el accionamiento del balancín la válvula de descarga se acciona y atomiza y pulveriza la solución desinfectante, la cual se distribuye en el interior del equipo mediante ductos y boquillas ubicadas en el interior del armazón.

Enlace
 
 
  
09DISPOSITIVO TECNOLOGICO CON SENSOR DE GRITO AUXILIADOR
 

 Dispositivo que comprende un equipo software integrado a un hardware con la finalidad de transmitir una señal cuando el sensor de sonido del dispositivo escuche una señal de auxilio, como un grito, incluyendo la palabra auxilio, logrando que esta señal se registre como un mensaje de texto al celular receptor, con la palabra auxilio.

Enlace
 
 
10CORTADOR MANUAL PARA MAZORCAS DE CACAO CON MECANISMOS DE SOPORTE Y AMORTIGUACIÓN
  
11PROCEDIMIENTO Y EQUIPO PARA LA ABSORCIÓN DE GASES
 

 Procedimiento y equipo de absorción de componentes de una mezcla gaseosa con ayuda de un solvente líquido y puede ser usado en operaciones de transferencia de masa en la industria química para la producción de amoniaco, metanol, etileno, naftaleno, limpieza de aire, etc. 

Enlace